industry news
行业资讯
2020年6月22日,国家中小企业发展基金有限公司成立,注册资本为357.5亿元人民币;登记机关为上海市工商行政管理局;经营范围为一般项目:股权投资,投资管理,投资咨询;法定代表人、董事长为马向晖,据资料显示,马向晖曾任工业和信息化部中小企业局局长。
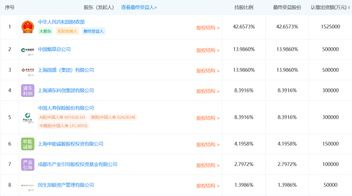
公司股东包括中华人民共和国财政部、中国烟草总公司、中国人寿保险股份有限公司、上海国盛(集团)有限公司等,其中,财政部持股比例42.6573%为大股东,出资152.5亿元。
据悉,国家中小企业发展基金将通过引导社会资本,预计子基金总规模可放大至1000亿元。
国家中小企业发展基金母基金的设立,早有端倪。
早在去年6月,工信部副部长王江平就主持召开国家中小企业发展基金母基金筹建工作座谈会,推动设立国家中小企业发展基金公司制母基金。11月,工信部发文提出要推动国家中小企业发展基金实体基金运营,做好母基金设立筹备工作。
在去年12月中国母基金联盟于钓鱼台国宾馆主办的“2019中国母基金50人论坛”上,工信部中小企业局融资和担保服务处调研员杨叶阳女士也透露,在中国直接融资比重较低、银行依然是中小企业融资主渠道的背景下,工信部目前正在筹建国家中小企业发展基金,其中,80%的资金作为母基金,20%的资金做直投,投资对象面向全国的中小企业,不限投资区域,也不限产业领域。
此前,国家中小企业发展基金已投资4支子基金,分别委托给江苏毅达、东方富海、国中创投、清控银杏管理,已投项目中主要以种子期、初创期成长型中小企业为主,涵盖了高端装备制造、新能源、新材料和生物医药、节能环保、信息技术等战略性新兴行业,基本覆盖了全国各个区域,同时也兼顾了欠发达地区的项目投资。
而现在设立的母基金主体,将通过再设立一批子基金,使基金总规模放大至1000亿元以上,积极发挥母基金和子基金协同联动效应,带动社会资本扩大对中小企业的股权投资,重点为初创期成长型中小企业的创新发展提供中长期股权资本支持,助力中小企业渡过难关和转型升级,促进中小企业高质量发展。
国家中小企业发展基金母基金的设立,不仅是为当前进入“冰河世纪”的股权投资行业带来“活水”,更是对中小企业的雪中送炭。
中国的经济有一个说法,5678——中小企业贡献了全国50%以上的税收,60%以上的GDP,70%以上的技术创新成果和80%以上的劳动力就业。自疫情发生以来,中小企业成了全国人民关注的焦点,在这场前所未有的危机之下,各类扶持政策也在频频出台。
上个月,国务院促进中小企业发展工作领导小组第六次会议指出,经济全面复苏需要时间,当前中小企业发展仍面临复杂严峻的局面。要加快重大项目投资、促进民间投资,加大股权、债券市场对中小企业发展的支持。李克强总理也曾表示,中小微企业是维系经济社会发展的根基,是涵养民生就业的土壤,帮扶中小微企业渡过难关要作为宏观政策的重要内容。
疫情冲击之下,没有外力救助,中小企业自己很难活下去。这时候对中小企业的帮助,不只是雪中送炭,甚至是救命。
中国母基金联盟秘书长唐劲草表示:国家中小企业发展基金的设立,将为投资行业、特别是母基金行业带来希望和宝贵的信心。
除设立国家中小基金外,国家有关部门还将在完善财税政策、优化服务环境等多方面支持中小企业发展。
据介绍,政府采购将加大力度支持小型微型企业发展。从今年开始,负有编制部门预算职责的各部门,将安排不低于年度政府采购项目预算总额18%的份额专门面向小型微型企业采购。在政府采购评审中,对小型微型企业产品可视不同行业情况给予6%到10%的价格扣除。鼓励大中型企业与小型微型企业组成联合体共同参加政府采购,小型微型企业占联合体份额达到30%以上的,可给予联合体2%到3%的价格扣除。推进政府采购信用担保试点,鼓励为小型微型企业参与政府采购提供投标担保、履约担保和融资担保等服务。
国家将继续执行对符合条件的信用担保机构免征营业税政策,加大中央财政资金的引导支持力度,鼓励担保机构提高小型微型企业担保业务规模,降低对小型微型企业的担保收费。引导外资设立面向小型微型企业的担保机构,加快推进利用外资设立担保公司试点工作。
据了解,国家将进一步推出相关政策促进中小企业特别是小型微型企业结构调整和优化。重点支持中小企业技术进步和技术改造,创建和保护自主知识产权及加强品牌建设,提升“专精特新”发展能力,加强与大企业协作配套,稳定和扩大就业,开展节能减排和安全生产,挖掘和保护特色传统工艺和产品,发展国家重点培育的产业,提升经营管理水平等。
同时,年内国家有关部门将推出政策改善中小企业特别是小型微型企业服务环境。重点支持高技术服务业、商务服务业、现代物流业等生产性服务业企业,以及中小企业服务机构等提升服务能力和服务质量,加强和改善中小企业创业、创新、质量、管理咨询、信息服务、人才培养、市场开拓等服务。
